苹果或2020年发布AR眼镜
2017-11-15
据英国《每日邮报》报道,苹果公司在7月宣布AR眼镜已获专利,将于2019年做好技术支持,2020年正式发布。彭博社又报道,苹果AR眼镜性能独特,将启用T228计划中的新型芯片和新一代ioses系统——“rOS”,即“现实操作系统”。该系统是苹果手机和平板ioses系统的分支,与苹果手表的系统也十分相似。

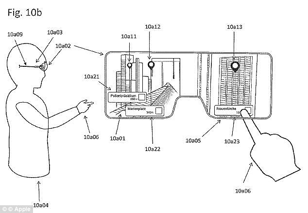
苹果AR眼镜是一种头戴式、可触屏的设备,可与苹果手机一起使用。同时,其交互功能也为用户关注点的展示提供了途径。如,在苹果手机屏幕上显示的真实环境中会出现地标或移动车辆等用户关注的物体。可见,苹果手机能够连接AR耳麦,让用户实时看到自己的关注点。这种技术对用于新城市导航等AR应用程序尤为有效。
这种眼镜是AR软件开发公司Metaio研发的产品。Metaio于2015年5月被苹果公司收购,之前还研发出“热感触控”技术,通过人们触摸物体后留下的热感信号进行触控操作。苹果公司的首席执行官库克将AR称之为一个“大创意”,人们将“如一日三餐那样,每天都能获得AR体验。”
目前,苹果公司正在抓紧时间进行技术研发,同时也在调查控制面板,通过语音助手检测声音激活功能,并利用头部姿势来控制眼镜。据彭博社消息,工程师正在研发从映射到虚拟会议室功能的应用程序原型,并搭载了HTC头戴式显示器的360°视频回放功能。此外,苹果公司还在制作一个类似三星Gear VR、谷歌Daydream的特殊开发工具包,即便只能在国内为AR眼镜提供应用程序的支持,也同样将应用到苹果手机的屏幕功能中。
一直以来,为苹果产品提供金属外壳的台湾可成科技也将为AR眼镜生产零件。虽然可成科技主席艾伦•霍恩没有透露公司进行的具体项目,但从该公司与苹果公司的长期合作背景推测,该项目是在为苹果AR产品生产外壳。本月7日,艾伦•霍恩在收益会议上表示:“柠檬APP在线观看视频了解到的信息显示,新型AR产品必须外观好看、携带轻便。这让该类设备的外壳制作非常复杂,目前柠檬APP在线观看视频仍有很多挑战须要克服。”
文章来源:环球网